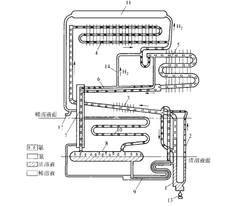
圖2.5是擴散一一吸收式制冷機的制冷系統原理圖。它的工作流程是:濃氨水溶液在發生器1中被熱源13(例如電熱絲、液化氣或煤油爐等)加熱,氨大量汽化形成的氨蒸氣泡夾帶著稀氨溶液,沿熱虹吸管(或稱提升管)2上升,在管出口處空間容積突然變大,使氣液分離。分離出的稀氨水溶液經回流管(又稱下降管,位于提升管左側)及浴液熱交換器9的外套管和氣液熱交換器7的外套管兩次降溫后,由吸收器10上部入口進入吸收器向下流動,與從吸收器下部入口進入吸收器向上流動的低壓氨蒸氣相過混合,吸收氨蒸氣變成濃氨水溶液進入貯液器8。由于貯液器上部的氨氧混合氣體總壓力較高,使濃溶液可由貯液器經黨液熱交換器9的內管返回發生器1,完成溶液的循環。在熱虹吸口出口處分離出的氨蒸氣中不可避免含有少量水蒸氣,此混合蒸氣進入分凝器3(又稱精餾器)后,水蒸氣的冷凝溫度較高,先凝結為水回流至發生器1。分凝后所得高純度的高壓氨蒸氣則進入冷凝器4冷凝為氨液。
從冷凝器排出的氨液經U型液封供液管流至蒸發器5入口。U型液封可防止冷凝器中的高壓氨壯氣進入蒸發器。在蒸發器入口處,氨冷凝液與來自回氧管(位于平衡管14右側)的氫氣混合進入蒸發器。蒸發器中氨氧混合氣體的壓力雖很高,但氨的分壓力很低,氨液在低分壓下沸騰汽化制冷。可見,氧氣的加入,可使氨的分壓力突然降低,還起到了類似節流的作用。從蒸發器流出的低溫氨氧滋合氣體經氣相熱交換器6的外套管和氣液熱交換器7的內管,先后吸收氧氣和稀溶液的熱量后,流入貯液器8的上部,然后從吸收器的下部入口進入吸收器上行。其中的氨蒸氣則為在吸收器中下行的稀溶液所吸收,使溶液變濃后隨濃溶液流至貯液器,并經濟液熱交換器返回,發生器再次受熱汽化為氨蒸氣,完成制冷劑氨的循環。從貯液器進入吸收器的氨氫混合氣體,在氨被吸收的同時,氧氣卻因不參與吸收過程而分離出來,并由于氧氣的容重小和不斷受熱,將繼續在吸收器中上行,再經氣液熱交換器7、氣相熱交換器6和蒸發器入口與氨液混合,完成氧氣的循環。
平衡管14中充滿了氧氣,它連接在冷凝器4的出口與氣相熱交換器之間,而氣相熱交換器與蒸發器和吸收器都是相通的,這就使得冷凝器與蒸發吸收回路之間的壓力得以平衡。設置貯氧器11的目的是在環境溫度發生變化時,仍能調節平衡系統的壓力,以保證制冷機的常年穩定運行。






