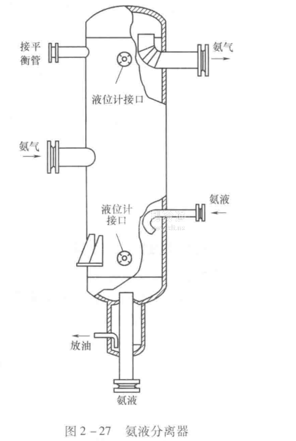
氨液分離器見圖2-27。為了避免含有液體的濕蒸氣被壓縮機吸入,使壓縮機產生濕沖程,所以在進壓縮機之前應通過氣液分離器將其中所含的液體顆粒分離出來。

其原理是當蒸發器的氣體進入液體分離器時,因突然降低了運動速度并改變了運動方向,密度較大的液體顆粒就下沉在分離器的底部,而密度較小的氣體被壓縮機吸走。氟利昂系統常用的液體分離器又稱集液器,見圖2-28,也是采用慣性的原理將油與液體分離開來。氟利昂系統中的液體分離器經常與回熱交換器結合在一起,以促使回氣中夾帶的液體迅速蒸發。

氨液分離器見圖2-27。為了避免含有液體的濕蒸氣被壓縮機吸入,使壓縮機產生濕沖程,所以在進壓縮機之前應通過氣液分離器將其中所含的液體顆粒分離出來。

其原理是當蒸發器的氣體進入液體分離器時,因突然降低了運動速度并改變了運動方向,密度較大的液體顆粒就下沉在分離器的底部,而密度較小的氣體被壓縮機吸走。氟利昂系統常用的液體分離器又稱集液器,見圖2-28,也是采用慣性的原理將油與液體分離開來。氟利昂系統中的液體分離器經常與回熱交換器結合在一起,以促使回氣中夾帶的液體迅速蒸發。
