CWK-1l型壓差控制器主要用于氨泵不上液保護,保護氨泵進出口壓差在一定的數值之上,以免發生氣蝕現象。此外,該儀表也可用于其他液泵。
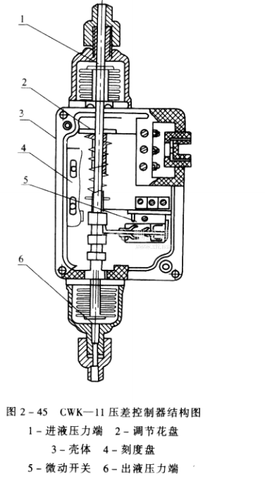
CWK-11型壓差控制器的結構見圖2-45。它的結構和工作原理與CWK-22基本相同,但缺少延時機構,使用時若需延時,應另配時間繼電器。窗口的刻度板上指針指出的是控制器的下限壓差。上限等于指針數值加開關差(0.01MPa)。

CWK-11型壓差控制器用作氨泵斷液保護時,上端氣箱接氨泵入口,下端氣箱接氨泵出口,另配時間繼電器作延時機構。圖2-46是CWK-11的電氣接線圖。氨泵剛啟動時,壓差尚未建立,觸點1,2通,時間繼電器通電延時。在調定的延時時間內,壓差達到控制器的上限值,波紋管推動頂桿上移。帶動微動開關動作.使觸點2, 3閉合,1, 2斷開,將時間繼電器KT從電路中切除,氨泵投入正常運轉;若在調定的延時時間內,氨泵的進出口壓差達不到上限值,時間繼電器KT動作,其觸點切斷氮泵電源,使氨泵停止運轉。在氨泵運轉過程中,如果氨泵進出口壓差低于控制器下限時,控制器觸點1, 2接通,繼電器KT重新延時。在延時時間內,壓差恢復到控制器上限,氨泵繼續運轉;恢復不到上限則停泵。







