發生器是用來加熱濃氨水溶液到沸騰,并產生氨一水混合蒸汽的設備。在化工中又稱為沸器、亞沸器、再沸器。發生器屬于壓力容器,一般設計壓力1. 6MPa,設計溫度200℃。加熱熱源主要是蒸汽或廢熱蒸汽。有些情況下,也可采用高溫工業氣體、帶有水蒸汽的工藝物流、高溫熱水等。也有用燃油、燃氣的燃燒產物加熱的。
發生器的結構型式很多,直燃式發生器實際上是一臺小型鍋爐設備,此外,還有立式降膜式發生器、熱虹吸式再沸器和臥式煮沸式發生器。
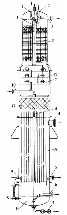
降膜式發生器 目前工程中較多采用蒸汽加熱的立式降膜發生器,其結構見圖16-32。它是立式管殼式結構的換熱器,處于整個精餾塔下部。上管板的每根降膜加熱管上,設有圖16-32所示的布膜器,上升的氨水混合蒸汽可從上端小孔噴出,而且提餾段下來的液體可順噴嘴外側流入管束內,并在管內壁呈膜狀流動,受管束外蒸汽加熱而不斷發生氨水混合蒸汽。液相質量分數變小而流至塔釜。加熱蒸汽在殼程流動,加熱溶液。

立式降膜式發生器內溶液填充量小,壓力損失小。當運行狀況波動時,發生器的操作條件可很快隨著改變。起動時間短。降膜式發生器中,發生蒸汽與下降撥體逆向流動,進行熱、質交換。其結果發生出的氨水混合蒸汽中,水分含量減小,因此,降低了餾負荷。
降膜式發生器也可制成臥式的結構。






