專設熱水回路的直燃型溴化鋰吸收式冷熱水機組,通常用作制冷或采暖專用機。在制冷工況,它按雙效溴化鋰吸收式機組的串聯或并聯循環流程工作;在采暖工況下,它按冷劑蒸汽在熱水器內冷凝的溴化鋰吸收式制熱循環流程工作。

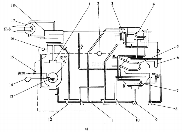
圖13-8為專設熱水回路的直燃型溴化鋰吸收式冷熱水機組及其制熱循環流程在圖上的表示。在制冷工況。轉換閥A、B關閉,熱水回路關閉,機組按稀溶液在低溫溶液換熱器之后分流的雙效溴化鋰吸收式機組的并聯循環流程工作。在采暖工況下,轉換閥A, B關閉,熱水回路開通,冷劑蒸汽自高壓發生器流入熱水器,并在其中冷凝;冷劑水自熱水器流回高壓發生器,并在其中稀釋濃溶液;熱水在熱水器傳熱管內被加熱,并經專設的熱水回路向機組外供熱。機組按如下制熱循環流程工作。






