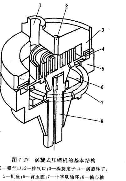
圖7-27已清楚地表示了渦旋式壓縮機中壓縮部分的結構,它只有5個零件:兩個渦旋體、機座、十字聯軸節和偏心軸。下面以美國谷輪公司的ZR系列柔性渦旋式壓縮機為例來介紹其結構特點,圖7-29為其剖面圖。
從蒸發器過來的工質氣體經吸氣管4進入壓縮機機殼,通過處于機殼上部的渦旋轉子3和渦旋定子2壓縮.由渦旋定子中心孔排出.并經由高低壓分隔罩26進入頂部排氣腔25,在分隔罩與渦旋定子間設有密封面.在機殼體排氣管1處裝有止回閥24。在渦旋定子的中心排氣孔口附近,設有一旁通管道20,通道口由雙金屬溫控片23控制。當排氣溫度過高時,溫控片打開通道口使高低壓旁通,排氣腔壓力降低,止回閥關閉,壓縮機運轉在卸載狀態,避免壓縮機過熱。用這種方式,壓縮機排氣溫度可控制在150℃以下,從而避免壓縮機的損壞。偏心軸7對渦旋轉子的傳動通過十字聯接環18相聯,使渦旋轉子僅能繞渦旋定子公轉,防止了渦旋轉子的自轉。渦旋轉子盤與偏心銷之間有游動襯套17。壓縮機的潤滑是藉助于偏心軸運轉時的離心抽力,將殼體下部油池中的潤滑油.沿著偏心軸中的油道,送到主軸承、偏心銷、游動襯套,進行潤滑。內皿電動機處于機殼的下部,其定子緊配在機殼上,使機殼成為電動機的散熱面。在電動機轉子的上下端設有平衡塊6和14,以平衡渦旋轉子所產生的慣性力矩。
除了高低壓分隔罩以上的排氣腔部分以外,機殼內基本上處于低壓狀態。電動機得到部分吸入制冷劑的冷卻。在機殼底部所設置的下主軸承13是用以改善電動機的定位,保持電動機的正常磁隙,這有利于改善軸承負荷和單相電動機的低電壓起動性能。






