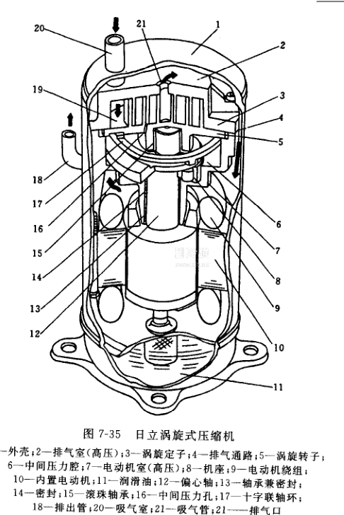
圖7-29所示的美國谷輪渦旋式壓縮機的潤滑系統是依靠曲軸旋轉時的離心力抽吸,將潤滑油輸送到各潤滑部位,此時壓縮機、電動機是處在低壓殼體中,因此也有一種利用吸排氣壓差來供油的潤滑系統(圖7-35),壓縮機通過渦旋定子中心孔21排氣,氣體越過渦旋定子3,經由壓縮機和殼體間的缺口通道,流向電動機側。由于氣流速度減慢,使氣體中含油分離,并通過焊于亮體內壁的油捕集網使油進一步分離。與此同時排氣也冷卻了電動機。這樣壓縮機、電動機處在高壓殼體中,在殼體底部油池中的潤滑油在壓力差的作用下,通過濾網、曲軸中心的油孔,將油送到各潤滑點。

值得一提的是,在此日立渦旋式壓縮機中,兩個渦旋體軸向密封所需要的軸向氣體力是由中間壓力腔6的中間壓力作用于渦旋轉子底部而實現的。中間壓力由中間壓力通孔16獲得。






