立式殼管式冷凝器與臥式不同之處是外殼的位置和水的分配,見圖6-2。冷凝器的頂部裝有配水箱,箱內設有擋板,以使冷卻水能均勻地分配至各個管口。在每一根鋼管上設有一個帶斜槽的導流管,水經導流管斜槽沿管內壁成螺旋狀運動下降,構成薄膜狀的水層,這樣可以充分吸收制冷劑的熱量,提高冷卻效率,節省用水。下降的冷卻水,流入混凝土制的水池內。水池同時是冷凝器的基座。在其一側裝有扶梯,可以攀登至配水箱,以進行檢查和清除污垢等工作。
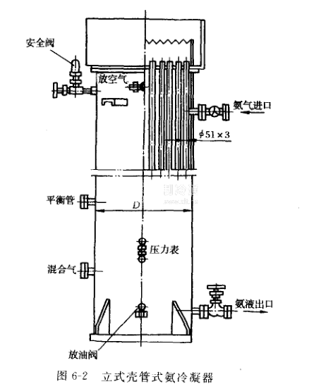
制冷劑蒸氣是從筒體的上部進入冷卻水管間空隙的(筒體內),并在其中液化,冷凝液逐漸沉積于筒的底部。為了減少被分離的潤滑油進人蒸發器的可能性,氨液排出管的接頭距簡底應有一定的距離。簡體內氨液的液面可從裝在底部的玻璃指示器來觀測。蓄積在底部的潤滑油可通過底部的放油閥將油放出。
此外,在冷凝器的主體上裝有進氣、出液、放空氣、均壓及安全等管路接頭,并接通相應的管路和設備。
立殼管式冷凝器的優點在于:冷卻水的流帝大流速高,傳熱效率高,占地面積小,且都安置在室外,一般的水都可作為冷卻水.不易發生堵塞現象,清洗管內水垢時可不必停止工作。
但它耗水量大,在一般水源較少地區不太合適,造價高,搬運不方便,泄漏時不容易發現,到發現時已有大量的氨損失。






