壓力容器承壓殼體上的所有A,B類焊縫均為全焊透焊縫,都要進行無損檢測。為保證焊縫質量,坡口的制備十分重要。坡口形式由焊接工藝確定,而坡口的尺寸精度、表面粗糙度及清潔度取決于加工方法。筒體縱縫通常可采取刨邊、銑邊、車削加工、火焰切割等工藝手段來制備。殼壁開孔可采用氣割、車削、鏡、鉆等方法。對于簡體上較大的開孔、加工,原有的設備已無法滿足,現已采用機器人進行開孔、坡口的制備。
壓力容器殼體焊縫坡口在下列情況下可選擇刨邊:
(1)允許冷卷成形的縱環縫、封頭坯料拼接;
(2)不銹鋼、有色金屬及復合板的縱環縫;
(3)坡口形式不允許用氣割方法制備的或坡口尺寸較精確的,如U形坡口、窄間隙坡口;
(4)其他不適宜采用熱切割方法制備的坡口,如低合金高強度材料等。
對于大型厚壁、合金鋼容器,大多采用熱卷、溫卷成型,其環縫坡口可在立式車床上加工完成,其優點是對各類坡口形式都適用,鈍邊直徑尺寸精度高,鈍邊加工直徑容易控制,又能保證環縫裝配組對準確。封頭環縫及頂部中心開孔的坡口也可在立式車床上加工。

采用火焰切割方法制備坡口,是目前壓力容器行業廣泛使用的最為經濟的手段。切割坡口時,通常是將分離切割與坡口制備合為一步完成的。當在半自動或自動切割機上做雙嘴或三嘴切割時,生產率成倍提高。雙嘴切割V形坡口可一次完成坡口制備,此時的割嘴配置如圖9一4所示。

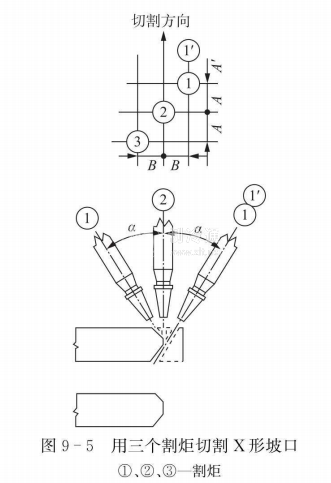
不帶鈍邊的X形坡口可采用單割炬分兩次切割,也可用雙割炬一次割出。帶鈍邊的X形坡口可采用單割炬分兩次切割,也可用三割炬一次加工出來。X形坡口一次切割的割嘴配置如圖9一5所示。
除了上述的刨邊機加工坡口、立式車床加工坡口、切割坡口外,在一些特定的場合還會采取一些其他的方法加工坡口,例如封頭法向斜插孔坡口加工,筒壁側側向開孔坡口加工。






