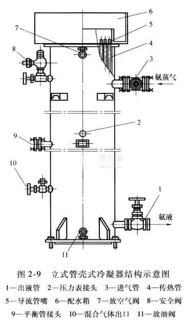
立式管殼式冷凝器直立安裝在水池上方,目前只用于中型及大型的氨制冷裝置中,其結構如圖2-9所示。
1.立式管殼式冷凝器的結構
立式管殼式冷凝器的外殼由鋼板卷制后炸接成圓柱形,兩端無端蓋,便于冷卻水自上而下流動。外殼上設有放油閥、放空氣閥、平衡閥和安全閥等管接頭。殼內的換熱管用焊接或脹接方法與焊接在冷凝器兩端的管板緊固。換熱管一般采用φ38mm x 3mm或φ51mm x3. 5 mm的無縫鋼管,其長度為4~5m。每個冷凝器的換熱管有幾十至幾百根。

配水箱裝在冷凝器頂部,分水器(導流管嘴,見圖2-10)裝在換熱管的頂端入水口,冷卻水通過三個斜槽流入換熱管中。分水器除了具有使水流均勻、增強傳熱的作用外,還可降低水流沖擊,減緩換熱管所受水流的沖擊腐蝕。
2.立式管殼式冷凝器的工作特點
冷卻水從配水箱經過每根換熱管頂部的分水器,通過三個斜槽流入換熱管中,并在重力作用下以螺旋線狀沿管道內表面成膜層自上而下,換熱后流入水池;水再由水泵送上冷卻塔冷卻后,循環使用。高壓過熱氨氣從冷凝器外殼的中上部,進入冷凝器內的換熱管外空間,在換熱管外冷卻后冷凝成氨液。氨液沿管外流下,并存積在冷凝器底部,從出液管流出。






