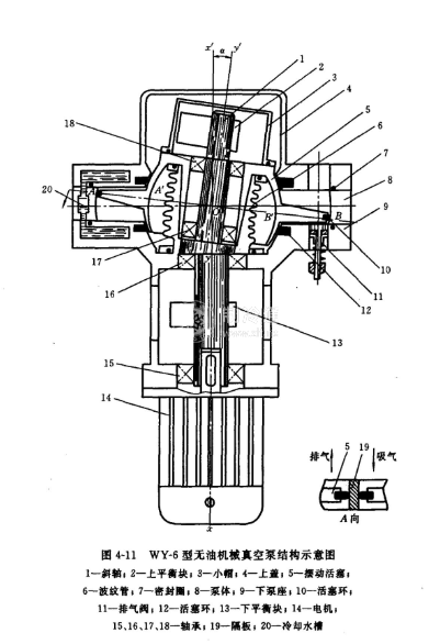
搖擺活塞式無油機械真空泵這種泵的結構和工作原理如圖4-11和圖4-12所示。圖4-11中,斜軸1用軸承15、16支撐于下泵座9上,其上端軸線yy與xx'成傾轉斜角a,其交點O為擺動中心,當電機帶動軸1旋轉時,軸yy'產生以O為中心,以xOx'為軸線,錐頂角為2a的旋轉運動。由于軸承17、18及波紋管6的作用,擺動活塞5僅產生圓周方向的上下擺動,無旋轉運動。隔板19將擺動活塞5分隔成吸氣腔和排氣腔(見A向剖視)。當5在4和9之間作擺動時,形成切線AA'和BB',并隨著斜軸1旋轉,此兩切線不斷將氣體由吸氣口趕向排氣口。排氣閥11是單向閥,用于防止氣體返流人泵內,運動件產生的不平衡力由平衡塊2、13來平衡。金屬波紋管6主要作用是將抽氣腔與軸承潤滑腔隔離,并防止活塞5轉動。5的內外球面由活塞環10、12密封,0形密封圈7用于防止大氣漏入泵腔,上蓋4、下泵座9、泵體8內開有冷卻水槽,加強泵的冷卻。


搖擺活塞式無油機械真空泵的特點如下。
①無油、干燥、清潔。
②允許工作壓力范圍為1×103~4×10-2Pa。作為前級泵使用時,其排出壓力可達1×105Pa,壓縮比可達12;作為增壓泵使用時,極限真空壓力可達4×10-2Pa,壓縮比可達100.
③搖擺活塞與上下泵蓋間不接觸,活塞內外球面采用能自潤滑的活塞環密封,并由活塞脹圈自動補償磨損量,波紋管進行了特殊處理,壽命長。
④泵的主要材料是1Cri8Ni9Ti,活塞環采用四氟充填,耐腐蝕性好,適用于多種氣體。






