對于中央集中式空調系統,風機的壓頭與風量是按照空調系統中全部房間一起使用時選取的。各支管系統均負責供一區房間,由于各房間的負荷情況不同,若房間采用風量調節,則各支管系統中的送風量也是經常變化的。
風管中風量或空氣速度的變化,會引起風管中靜壓的改變,故在幾個房間公用一個送風支管的情況下,調節一個房間的送風量,會引起同支管鄰近房間風量的波動,因而其他房間的溫度也隨之波動,調節系統不穩定。靜壓調節器的基本方法,是通過節流調節風量或泄放過量空氣來保持風管內靜壓穩定。在各支管內安裝靜壓調節器,以解決中央集中式空調系統中各房間風量調節的相互干擾問題。

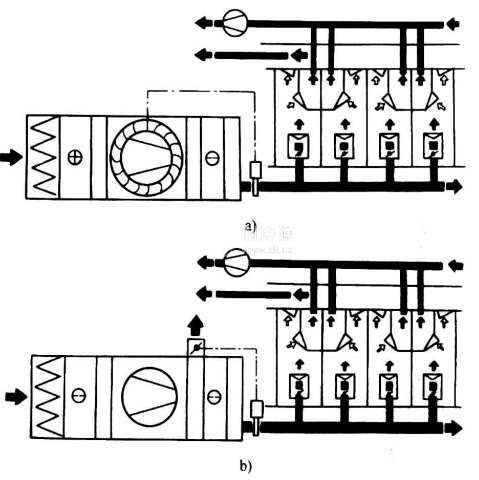
靜壓調節按靜壓調節器的安裝位置,分為中央空調器上的靜壓調節和管系中的靜壓調節。中央空調器上靜壓調節的基本方法大致可分為5種,找方案原理圖見圖51-23。管系上靜壓調節主要有三種方案,見表51-8,其方案的原理圖見圖51-24。



應該指出:在改變總送風量的方法中,最節能的控制方式是采用變速電動機來改變風機的轉速,但初投資很大。因此工程上采用較多的是調節風機的入口閥葉片角度。






