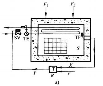
若把冷庫庫溫控制對象,與控制器組成一個閉環的控制回路,就形成一個如圖48-4所示的冷庫庫溫控制系統。這是一個最簡單的冷庫庫溫控制回路。當庫溫上升超過給定值后,溫度控制器R動作,打開制冷劑供液電磁閥;若庫溫下降低于給定值,通過控制器R動作,關閉供液電磁閥。由于電磁閥的動作是不連續的,故這是一種不連續控制,它尚要和熱力膨脹閥TE(見圖48-4a)配合控制,完成制冷系統的整個控制要求。控制對象與控制器必須彼此匹配,才能形成一個正確運行的控制系統。



在圖48-4b所示的框圖中,被控參數x是被控對象S的輸出信號,如冷庫庫溫。凡是可能引起被控參數波動的外來因素(除控制作用外)均稱為干擾作用,如室外溫度變化、貨物熱等。干擾作用與控制作用對被控參數的影響的信號傳遞通道,稱為干擾通道和控制通道。
在較原則的框圖中,執行機構和調節閥亦可用一個框圖“執行器”表示。偏差信號送入控制器后,按照預定的控制規律送出控制信號P,送至執行器,執行器的輸出信號q作用于控制對象,稱為控制作用,從圖48-4可看出,自動控制系統中被控參數沿著箭頭方向前進,最后又回到原來的起點,形成一個閉合回路,叫閉環系統。應用框圖分析,對比較復雜的控制系統可使問題變得清晰明了。從圖48-4b還可看出,被控參數是控制系統的輸出信號,通過發信器把控制系統的輸出量又引回到比較元件與控制器的輸入端,這種方式稱為反饋。如果反饋信號使被控參數變化變小,則稱為負反饋;如果反饋信號使被控參數變化增大,則稱為正反饋。自動控制系統大多數是利用反饋構成的,反饋系統是按偏差進行的,因此產生偏差是反饋控制系統進行自動控制的必要條件。






