雙門風冷電冰箱的箱內空氣為強制對流循環,蒸發器換熱效率較高、箱內降溫速度快,且溫度分布較均勻。圖28-8所示為較典型的雙門風冷式電冰箱制冷原理。該系統設有肋管組合式蒸發器4,并與一小風機組成一個吹風冷卻系統,再加上箱內結構的特殊設計,并通過風門式溫度控制器2調節冷風循環,實現冰箱冷藏室和冷凍室的降溫。吹風冷卻式電冰箱的肋管組合式蒸發器,一般裝在箱體后部隔熱結構內側,也可裝在冷藏室和冷凍室之間。根據蒸發器相對風扇的位置,空氣可以是吸入式或壓出式,圖28-8為吸入式。有時為了減少風扇電動機熱對箱內的影響,則把風扇電動機裝在箱外,通過長軸帶動風葉。

吹風式雙門電冰箱設有兩個溫度控制器,實現冷凍室和冷藏室的溫度獨立控制和調節。冷凍室溫度控制器,根據冷凍室給定溫度值控制壓縮機的起動、停車。冷藏室采用風門式溫度控制器,控制進入冷藏室的冷風進口風門開度,調節冷風量,冷藏室溫度升高時,風門開大,反之則關小,以此控制冷藏室的溫度。風門的動作靠溫度控制器或感溫管、膜盒、波紋管等組成的調節系統操縱,即溫度變化時,波紋管或膜盒發生伸縮,通過傳動機構改變風門開度。
吹風式雙門電冰箱,采用兩個溫度控制器控制箱內溫度將取得較理想的溫度控制效果。但有時為簡化結構,也可采用一個溫度控制器,控制冷凍室溫度,并控制壓縮機起動、停車,而冷藏室采用手動風門來控制溫度,在氣溫比較穩定時,這種控制一般可滿足使用要求。

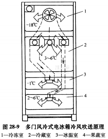
吹風式雙門電冰箱風機一般與壓縮機同步運行,但當開啟箱門時,風機也停止工作,以減少冷量損失。另外,鑒于吹風冷卻的需要,該類電冰箱均配有自動或半自動融霜系統和排水管系,以保持冰箱蒸發器良好的換熱性能。近年發展了吹風冷卻式三門或四門的電冰箱。圖28-9所示的多門風冷式冰箱,冷風通過各風管分別送入冷藏室、冷凍室、冰溫室和果蔬室,并保持各室預定的溫度范圍。






