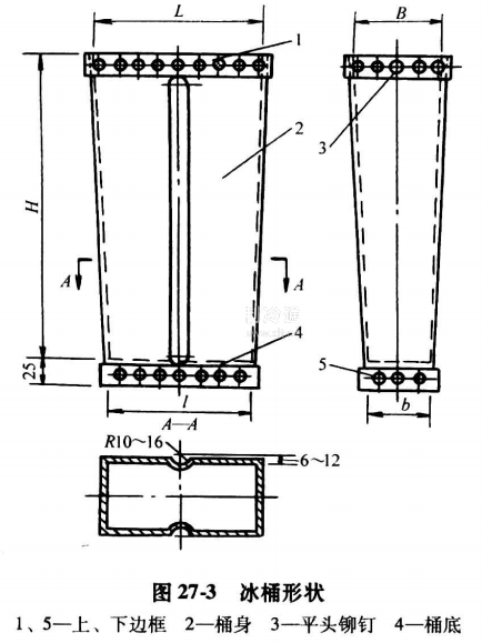
(1)冰桶規格根據標準SC/T 9002-1984,冰桶按冰塊質量有125kg, 100kg和50kg三種規格。其形狀和基本尺寸見圖27-3和表27-7。
(2)冰桶的技術要求
1)冰桶的接合縫可采用焊接式或鉚接連接式。焊接式的焊縫設在冰桶短邊的中線處。鉚接式的鉚縫設在冰捅長邊和短邊的交接處。
2)冰桶的加強槽為兩個R10~16mm凸向桶內的半圓槽,設于冰桶長邊的中線處。
3)冰桶內表面要求平整、光滑、無劃痕、無毛刺和無銹斑。
4)冰桶外表面的平直度,可用直尺做透光檢查,要求200mm內不超過1mm。
5)冰桶部件的常用材料見表27-8。
6)冰桶的加工尺寸按IT15級精度檢查。

7)冰桶須做防銹處理,常用船底防銹漆處理。
8)冰桶不得滲水和漏水。
(3)冰桶的組合冰桶組合于冰桶架上,形成一排冰桶。每排冰桶的數量由冰池的規格和起吊設備的能力而定。一般冰池中每一排冰由一個或兩個冰桶架組成。






