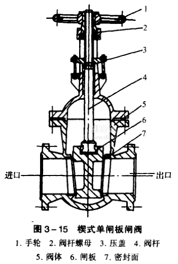
閘閥主要由手輪、填料、壓蓋、閥桿、閘板、閥體等零件組成。
閘閥按閘板形式可分為楔式和平行式兩類。楔式大多制成單閘板,兩側密封面成楔形。平行式大多制成雙閘板,兩側密封面是平行的。如圖3-15所示為楔式單閘板閘閥,閘板在閥體內的位置與介質流動方向垂直,閘板升降即是閥門啟閉。
閘閥的優點是:介質通過閥門為直線流動,阻力小,流勢平穩,閥體較短,安裝緊湊。缺點是:在閥門關閉后,閘板一面受力較大,容易磨損,而另一面不受力,故開啟和關閉需用較大的力量。為此,常在高壓或大型閘閥的一側加裝旁通管路和旁通閥,既起預熱作用又可減少主閥門閘板兩側的壓力差,使開啟閥門省力。






