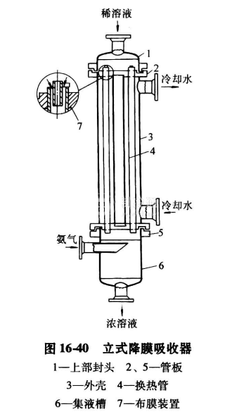
立式降膜吸收器的優點是占地面積小,稀溶液的噴淋密度大。圖16-40為立式降膜吸收器的一種。稀溶液由上部進入,經管板2上的布膜裝置7,在管內壁形成液膜向下流動,與上升的氨氣進行熱質交換而增濃,最后流入集液格6。冷卻水自下而上通過管間將吸收熱帶走。為了增加水側流速,在殼程中加設折流擋板。這種設備吸收效果好。除作吸收器外,還可作再吸收器或輔助吸收器。缺點在于管間表面清除水垢比較困難。
對于大中型的氨吸收式制冷機組,也可以采用塔式降膜吸收器(吸收塔)。其構造與立式氨冷凝器相似,冷卻水通過管內成膜下流,稀溶液從上部倒進,也在管外成膜下流;氨氣則在下部通入,在管間自下而上流動,與溶液進行熱質交換,吸收終了的濃溶液流至塔釜。其優點是占地小,冷卻水管內污垢容易清洗。缺點是溶液與冷卻水并流,且冷卻水是單程的,如管內成膜流動不好,冷卻水溫升小,水量消耗大,而且吸收終溫會高于冷卻水出口溫度。
化工蒸餾和吸收單元操作的機理和方式很多,氨又是易于分離和吸收的介質,完全可以借鑒當前化工、石化中蒸餾和吸收操作的新技術和新設備來強化傳熱傳質,提高精餾、吸收效率,縮小設備尺寸,降低消耗指標。






