圖7-45已清楚地表示了渦旋壓縮機中壓縮部分的結構,它只有很少的5個主要零件:兩個渦旋體、機座、十字聯軸環和偏心軸。

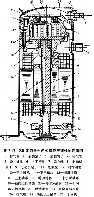
圖7-47為ZR系列全封閉式禍旋壓縮機的斷面圖,其工作原理如下:從蒸發器過來的工質氣體經吸氣管 4進入壓縮機機殼,通過處于機殼上部的渦旋轉子3和渦旋定子壓縮,由渦旋定子中心孔排出,并經由高低壓分隔罩25進入頂部排氣腔24。在分隔罩與渦旋定子間設有密封面。在機殼體排氣管1處裝有止回閥26。在渦旋定子的中心排氣孔口附近,設有一旁通管20,通道口由雙金屬溫控片23控制。當排氣溫度過高時,溫控片打開通道口,使高低壓旁通,排氣腔壓力降低,止回閥關閉,壓縮機運轉在卸載狀態,避免壓縮機過熱。用這種方式,壓縮機排氣溫度可控制在150℃以下,從而避免壓縮機的權壞。偏心軸7對渦旋轉子的傳動,通過十字聯軸環18相連,使渦旋轉子僅能繞渦旋定子公轉,防止了禍旋轉子的自轉。渦旋轉子盤與偏心銷之間裝有游動襯套170壓縮機的潤滑是借助于偏心軸運轉時的離心抽力,將殼體下部油他中的潤滑油,沿著偏心軸中的油道,送到主軸承、偏心銷、游動襯套進行潤滑。內置電動機處于機殼的下部,其定子緊配在機殼上,使機殼成為電動機的散熱面。在電動機轉子的上下端,設有上平衡塊6和下平衡塊14,以平衡渦旋轉子所產生的慣性力矩。

除了高低壓分隔罩以上的排氣腔部分以外,機殼內基本上處于低壓狀態。電動機得到部分吸入工質的冷卻。在機殼底部所設置的下主軸承13,是用以改善電動機的定位,保持電動機的正常磁隙,這樣有利于改善軸承負荷和單相電動機的低電壓起動性能。
由于渦旋式壓縮機具備帶液起動,以及融霜循環時能經受液體制冷劑的能力,通常不需配用氣液分離器。但是在正常停機時,有大量液體制冷劑反復多次流回壓縮機,會稀釋潤滑油,以致使軸承不能正常潤滑而造成損壞。為此,在實際應用時,可通過試驗來確定系統是否必須安裝氣液分離器。
渦旋壓縮機的另一個特點是只能在一個旋轉方向下進行壓縮運行。對單相壓縮機,旋轉方向不是一個問題,但三相壓縮機,卻存在壓縮機朝反方向旋轉的可能。為此,對壓縮機的轉向必須加以提示說明。






