電子鹵素檢漏儀是一種精密的檢漏儀器,靈敏度可達5g/年以下,靈敏度高的電子檢漏儀可檢出0.5g/年左右的氟利昂泄漏量。
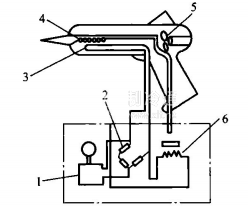
電子鹵家檢漏儀的結構和實物外形如圖1一20所示。用鉑絲作陰極、鉑罩作陽極構成一個電場,通電后鉑絲達到熾熱狀態,發射出電子和正離子,儀器的探頭(吸管)借助微型風扇的作用,將探測處的空氣吸入,并通過電場。如果被吸入的空氣中含有鹵素(如R12, R22, R134等),與熾熱的鉑絲接觸即分解成鹵化氣體,電場中一旦出現鹵化氣體,鉑絲(陰極)的離子的放射量就要迅猛增加,所形成的離子流隨著吸入空氣中的鹵素多少成比例地增減。因此,可根據離子電流的變化來確定泄漏量的多少。離子電流經過放大并通過儀表顯示出量值,同時發出音響信號。
由于電子檢漏儀的靈敏度很高,要求使用時被測試環境沒有鹵素和其他煙霧污染,因此不宜在污染量超過允許值的電冰箱生產或維修車間內檢測。用電子鹵素檢漏儀進行精確檢漏時,必須在空氣新鮮的場所進行。檢漏儀的靈敏度是可調的,由粗檢到精檢分為幾擋。在有一定污染的環境中檢漏時,可選擇適當擋位。
使用電子檢漏儀檢漏時,應使探頭與制冷系統被檢部位保持3~5mm的距離,探頭移動的速度不應超過50mm/s。使用過程中應嚴防大量氟利昂氣體吸入檢漏儀,因為過量的氟利昂會對檢漏儀的電極造成短時或永久性污染,使其探測的靈敏度大大降低。






