根據傳動裝置的種類的不同,電子膨脹閥有直動型和減速型兩種。直動型電子膨脹閥的電動機直接帶動閥芯,結構較簡單,調節較迅速,見圖12-25;減速型電子膨脹閥的電動機通過減速齒輪副帶動閥芯,電機旋轉力矩可較小,調節較精密,適用于制冷量較大的場合。
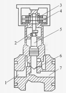
減速型電子膨脹閥的結構如圖12-26所示,它由閥體、脈沖步進電機、波紋管、傳動機構和閥芯等組成。脈沖步進電機通過傳動機構帶動閥芯上、下移動,進行制冷劑流量調節。


脈沖步進電機為驅動機構,由微計算機控制,一般是四相電機,電機轉子采用永久磁鐵形成磁極。微處理器發出指令,由轉換電路在各相繞組上按時序施加脈沖驅動電壓,使電動機旋轉。由于脈沖序列可以正、反變化,脈沖步進電機可以正反換向。


波紋管起密封作用,它將制冷劑流道與運動部分隔開,以防制冷劑泄漏。
傳動機構包括齒輪副和螺紋副,如圖12-27所示。小齒輪為主動齒輪,由脈沖步進電機帶動,小齒輪帶動大齒輪將轉速降低。傳動螺桿與大齒輪為一體,隨大齒輪旋轉。由于螺套與閥體上防自轉機構的作用,螺套無旋轉運動。隨著螺桿的旋轉,螺套上升或下降,將圓周運動變換成直線運動,并帶動閥芯上下移動。

圖12-26與圖12-27所示電子膨脹閥的通道結構形式為圓錐閥。






