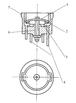
從20世紀60年代中期以來,這種繼電器廣泛地在電冰箱和窗式空調器中用于壓縮機電機的過電流過溫升保護。常見的碟形過電流過溫升保護繼電器的結構如圖3.46所示。是將鎳鉻電阻絲熱元件、碟形雙金屬片和一對常閉觸點安裝在一個耐高溫的酚醛塑料制成的小圓沉內。

安裝時,將它的開口端緊壓在制冷壓縮機的外殼表面上,以便感受壓縮機的溫升。當電阻絲熱元件流過過載電流或壓縮機溫升過高時,均會使碟形雙金屬片受熱普曲、翻轉,使常閉觸點斷開,導致電路斷電而起保護壓縮機電機的作用。這種碟形過電流過溫升保護繼電器通常與電流線圈重力式啟動繼電器以及PTC啟動繼電器配合使用。