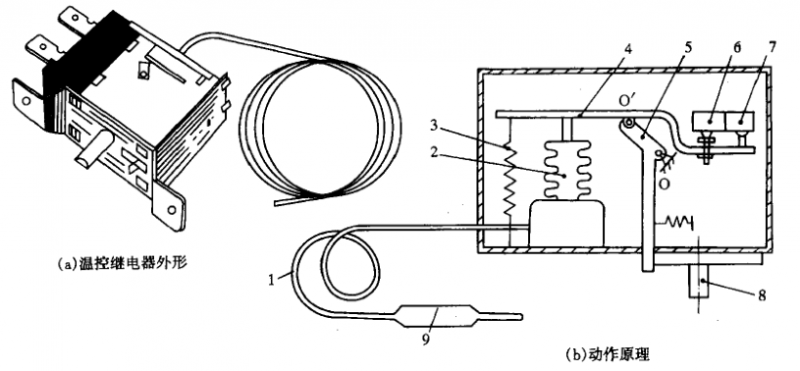
溫度控制繼電器是一種隨被控對象的溫度升降而使壓縮機工作或停止的電開關器件,其控制目的是使環境溫度達到所期望的值。圖2-45是YK303型繼電器動作原理圖,它由感溫包、毛細管和殼體的繼電器組成。感溫包、毛細管和波紋管組成一個密封的容器,內充氟利昂工質。通常將感溫包安裝在空調器的進風口處,當它感受到進風口溫度發生變化時,容器內工質將產生相應變化,而且通過毛細管傳至波紋管,使波紋管對杠桿產生的頂力距與彈簧拉力矩相互對抗著。當感溫包的溫度恒定時,頂力矩與彈簧拉力矩使杠桿平衡在某一位置,從而帶動微動開關動作,使控制對象(壓縮機)處于工作或停止狀態。其動作過程如下:

若感溫包感受的溫度高于設定值,則波紋管產生的項力矩增大,使杠桿繞支點0'順時針方向轉動,A、B兩點脫離微動開關按鈕,開關在自身彈力作用下復位,觸點閉合,壓縮機處于工作狀態;相反,若感溫包感受的溫度低于設定值,則波紋管的頂力矩減小,杠桿繞支點0'逆時針方向轉動,A、B兩點揪壓微動開關按鈕,使觸點切斷電源,壓縮機處于停止工作狀態。
溫度控制器的溫控設定值可通過調節偏心輪的位置獲得。當旋動偏心輪使曲桿繞0點左移時,0'支點上移,彈簧拉力矩增大,溫度控制的設定值將提高;反之,則溫度控制的設定值降低。






