除霜定時器:除霜定時器由時鐘電動機驅動,通過齒輪箱減速并傳動到凸輪機構和一組觸點,A、B、C、D為定時器的接線端子,其結構如圖3-62所示。

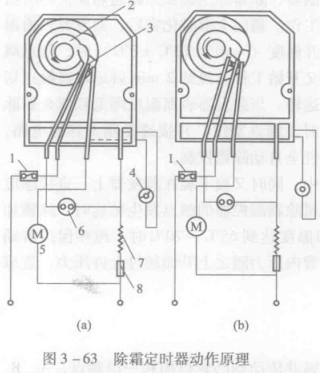
除霜定時器的動作原理如圖3-63所示。圖3-63(a)表示除霜結束時定時器的狀態,雙金屬片除霜溫控器的觸點斷開,切斷除霜加熱器的電路,此時壓縮機電動機的電路還未接通。當定時器的凸輪再逆時針旋轉一個很小的角度時(時間約為2min),就可到達到如圖3-63(b)所示的位置,此時壓縮機電動機電路接通,即蒸發器除霜加熱器停止工作約2min后,壓縮機又開始了下一個周期的運轉。
除霜溫度控制器:該溫度控制器卡裝在翅片管式蒸發器上,直接感受蒸發器表面溫度,當雙金屬片溫度為13%+3℃時,由于變形而使觸點跳開;當溫度降至-5℃左右時,雙金屬片復位使觸點接觸,接通除霜加熱器的電路。其結構如圖3-64所示。

除霜加熱器:該加熱器為管狀電熱器件,加熱元件是封裝在鍍鎳銅管中的電熱絲,銅管與電熱絲之間填充絕緣粉。加熱器功率一般為124℃~134℃,它安裝在翅片管蒸發器的翅片下邊或直接插人示片中,用以對蒸發器表面霜層進行加熱而除霜。
除霜超溫保護器:它由封裝在塑料外殼中的超熱熔斷合金構成,串聯在蒸發器加熱電路中,可直接感受蒸發器表面的溫度變化。一般設定的斷開溫度為65℃~70℃,用于當除霜溫度控制器失靈時斷開除霜加熱器電路,以防止蒸發器表面溫度連續升高。該保護器為一次性使用裝置,一旦出現故障應更換新品,其結構如圖3-65所示。







