窗式空調器安裝
窗式空調器有單冷型、熱泵型及電熱型三種,其安裝要點如下:
1、窗式空調器一般安裝于窗戶上,也可以穿墻安裝。安裝位置不要受陽光直射,應通風良好,遠離熱源,并且排水(冷凝水)順利。安裝的高度以1.5m左右為宜。
如果空調器的后部(室外側)有墻或者其他障礙物,其間距離必須在1m以外。
2、空調器左、右兩側的通風百葉口不能受阻,兩側必須有相應的通風空間。空調器必須側裝在室外,而不允許在內窗上安裝,室外側不允許在樓道或者走廊內,也不可以在走廊內安風管。
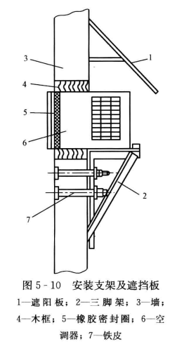
3、用木板制作窗式空調器的支架時,可以選用厚度為20mm的木板,按空調器的實際尺寸,作長方形框架與下角形室外支撐架((80mm X 80mm木料)。木框架與角支架應涂調和漆。用角鋼制作窗式空調器的支架時,可以選用40mm X 40mm的角鋼焊接而成。需要遮陽防雨板時,可以用扁鋼焊成三角形支架,上面設置鍍鋅鋼板或者玻璃鋼瓦楞板。角鋼支架必須焊接牢固,外面涂上防銹漆。空調器的支架固定于墻上或者窗上的方法可以根據實際情況而定。鋼支架可以用射釘槍釘入墻內,也可用膨脹螺栓固定,用穿墻螺栓聯接也可。
4、圖5-10為在墻內設木框架,其尺寸與空調器的外形尺寸匹配。安裝時,將空調器的機殼置于架內,機殼底部與木框之間可以用螺釘固定。
5、在機殼與木框之間的縫隙內應當用U形膠帶或者厚泡沫塑料帶密封以便于密封防振。






