壓力式溫度控制器各種壓力式溫度控制器,雖然在結構上各有特點,但它們的工作原理是相同的。
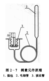
1) WTZK-50型溫度控制器。WTZK-50型溫度控制器原型號為WT-1226型溫度控制器,其結構主要由感溫系統和調節機構兩部分組成。在由溫包、毛細管和波紋管所組成的密封感溫系統內,充注工質(如R12、R22或其他對溫度敏感的物質)。當溫包感受到被測溫度變化時,溫包內工質的壓力也隨著變化。這個壓力作用在波紋管上,使波紋管伸長或縮短,輸出一個位移信號,測量原理如圖2-7所示。

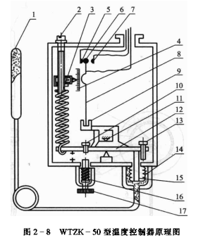
WTZK-50型溫度控制器的原理示意圖如圖2-8所示。波紋管輸出的位移信和號通過傳動桿15對杠桿12產生一個頂力矩,與主調彈往3作用于杠桿的力矩在刀支架11上相平衡。當被測溫度升高時,感溫包1和波紋管14內壓力增大,傳動桿向上的頂力年增大。當傳動桿力矩大于主調彈簧的力矩時,杠桿著時針轉動,壓住幅差彈簧16。若被測溫度繼續升高到調定值的上限,傳動桿的頂力矩大于主調彈簧的拉力矩與幅差彈簧的頂力矩之和,杠桿繼續轉動,帶動哆和片8左移,動觸頭6與靜觸頭7斷開,與靜觸頭5閉合,發溫度上限信號;若被測溫度下降,傳動桿的頂力距也下降,杠桿繞支點順時針方向轉動,剛轉動一點,不足以使卡蒙片8動作,只有被測溫度降到控制回調定值的下限時,彈簧片8動作,帶動動擊頭右移,使之與靜觸頭5斷開與靜觸頭7閉合,發溫度下限信號。

主調彈簧力的大小,決定了溫度控制器的下限動作值,轉動調桿2就可以改變主調彈自的預緊力,也就是改變了控制器下限溫度值。調節時指針隨主調彈簧上下移動,在標尺上可以直接指示出下限濕度值。
當被測溫度升高,傳動村頂動杠桿逆時針轉動一段距離后,便頂住了幅差彈答,這時般點還沒有變位,而杠桿要繼續轉動,在繼續克服主疝彈蒙拉力矩的同時,還必須克服幅差彈簧的頂力矩,才能使觸頭變位。可見,轉動幅差旋鈕17,油節幅差彈簧16的彈力,可改變上限動作溫度值(即改變幅差)。溫度調節器上限=下限值+幅差。值得注意的是,幅差旋鈕上分0~10格的刻度,每格并不代表1,而是幅差分擋的相對數,以0為最小幅差,10為最大幅差。一般幅差可調范圍為3℃~5℃。
WTZK-50型溫度控制指的溫度控制范圍有-40℃~-10℃、-25℃~0℃、-15℃~15℃和-10℃~40℃等幾種,廣泛用于各種冷藏庫和空氣調節系統的溫度控制。






